Замок ASSA ABLOY N1550 (Германия)

- Замок универсальный. Применяется в противопожарных и дымонепроницаемых (дымогазонепроницаемых, противодымных) дверях.
- Разработан для европейского профиля цилиндра (предлагается по умолчанию) и швейцарского круглого профиля цилиндра (другой вариант исполнения). Необходимо уточнять при заказе, какой вариант исполнения нужен.
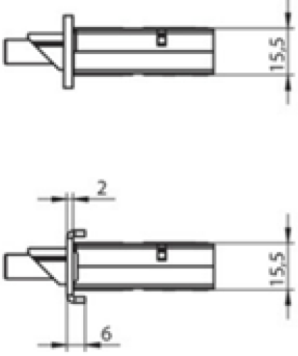
- Дорнмасс, или бэксет (расстояние от центра цилиндра (ручки) до лицевой части штульпа), – 35 мм (поддерживается складская программа); 25, 30, 40 и 45 мм – под заказ. Необходимо уточнять при заказе, какой вариант исполнения нужен.
- Лицевая передняя панель (штульп) существует в разных видах и размерах:
а) F (плоская прямоугольная толщиной 3 мм), R (плоская радиусная толщиной 3 мм), U (U или П-образная с загибами, толщиной пластины 3 мм (без учета загибов), с учетом загибов толщина штульпа 6 мм);
б) с шириной 20 мм или 24 мм;
в) с длинной 270 мм или 320 мм.
Штульп сменный. Необходимо уточнять при заказе, какой вариант исполнения нужен.
- Лицевая передняя панель (штульп) из нержавеющей стали.
- Квадратное отверстие под штифт (квадратный стержень ручки, четырехгранник) 9 мм.
- Расстояние между центрами ручки и цилиндра (сердцевины) 92 мм для европейского профиля цилиндра и 94 мм для швейцарского круглого профиля цилиндра.
- Корпус замка оцинкованный.
- Защелка DIN (язычок) замка левая/правая реверсивная, реверс без инструментов.
- Защелка может быть приведена в действие с помощью ручки или ключа с обеих сторон. Ее можно заблокировать и разблокировать ключом с обеих сторон (без помощи ручки).
- Реверсивная защелка автоматически откидывается на 12 мм в положение блокировки.
- Ход ригеля за один оборот – 20 мм.
- Ригель с защитой от взлома.
- Винтовое соединение частей замка (ремонтопригодность).
- Ручки овальные на цилиндр могут быть привинчены через замок (предусмотрены отверстия под крепление ручек не только с горизонтальным расположением, но и с вертикальным.
- Замок для приведения в действие нажимной ручки без пружины для удержания в верхнем положении.
- Врезной замок для использования в створчатой двери.
- Небольшой задний бэксет – 15 мм.
- Высокая стойкость против коррозии.
- Толщина корпуса замка всего 15,5 мм.
- Проверено на 1 млн циклов и 300 кг веса двери.
- Соответствие DIN EN 12209.
- Экологическая декларация продукта (EPD) в соответствии с EN 15804.
Фотография отображает лишь один из возможных видов замка.

